
Verwijder de glasplaat boven de
groentela en het flessenrek niet
om een goede luchtcirculatie te
garanderen.
Het maken van ijsblokjes
Dit apparaat is uitgerust met een of meer
bladen voor het maken van ijsblokjes
Gebruik geen metalen
instrumenten om de laden uit de
vriezer te halen
1. Vul de bakjes met water.
2. Zet de ijsbakjes in het vriesvak.
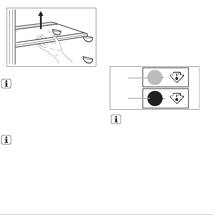
Indicatielampje voor
temperatuur
Voor de juiste bewaring van het voedsel is
de koelkast uitgerust met een
temperatuurlampje. Het symbool op de
zijkant van het apparaat duidt het koudste
deel van de koelkast aan.
Als OK wordt weergegeven (A), plaatst u
het verse voedsel in het gedeelte dat wordt
aangegeven door het symbool. Zo niet (B)
past u de temperatuurregelaar aan naar
een koudere stand en wacht u 12 uur
voordat u het temperatuurlampje weer
controleert.
Nadat u verse levensmiddelen in
de koelkast heeft gelegd of
nadat de deur regelmatig of
langer is open geweest, is het
normaal dat er geen OK wordt
weergegeven; wacht minstens
12 uur voordat u de
temperatuur opnieuw instelt.
AANWIJZINGEN EN TIPS
Normale bedrijfsgeluiden:
De volgende geluiden zijn normaal tijdens
de werking:
• Een zacht gorgelend en borrelend geluid
als het koelmiddel door leidingen wordt
gepompt.
• Een zoemend en kloppend geluid van de
compressor als het koelmiddel wordt
rondgepompt.
• Een plotseling krakend geluid uit de
binnenkant van het apparaat veroorzaakt
door thermische uitzetting (een natuurlijk
en ongevaarlijk natuurkundig fenomeen).
• Een zacht klikkend geluid van de
thermostaat als de compressor aan of
uit gaat.
Tips voor energiebesparing
• De deur niet vaker openen of open laten
staan dan strikt noodzakelijk.
• Als de omgevingstemperatuur hoog is,
de thermostaatknop op een lage
temperatuur staat en het apparaat
volledig gevuld is, kan de compressor
continu aan staan waardoor er ijs op de
verdamper ontstaat. Als dit gebeurt, zet
u de thermostaatknop naar een warmere
instelling om de koelkast automatisch te
Progress 7
Komentarze do niniejszej Instrukcji